close
close

Formular cerere ofertă

Lorem ipsum dolor sit amet, consectetur adipisicing elit.

    Nume (obligatoriu)
    E-mail (obligatoriu)
    Telefon (obligatoriu)
    Observații

    Categorii produse

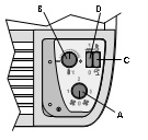
    TABLOURI DE COMANDĂ PENTRU VENTILOCONVECTOARE

    Denumire: CB

    Producător: MATRIXCLIMA

    Descriere:

    Ventiloconvectoarele, în mod standard, nu se livrează cu tablou de comandă. Tablourile de comandă se solicită separat, astfel se poate opta pentru varianta dorită şi se montează pe echipament în partea opusă racordurilor hidraulice.

    MATRIXCLIMA oferă o largă gamă de tablouri de comandă pe care vi le prezentăm în această secțiune.


    Contact Icon
    expand_less
    Acest site folosește cookie-uri pentru a vă oferi o experiență cât mai bună. Prin continuarea navigării sunteți de acord cu folosirea acestora.
    Detalii Refuz Accept